BS FLANGES BS 4504 PN6 PN40 FLANGE Suppliers
BS 4504 Flanges Supplier, BS 4504 Series A and B BS 4504 Flanges, Alloy Steel BS 4504 Plate Flanges, Carbon Steel BS 4504 Flange, Manufacturer of BS 4504 Flanges, Nickel Alloy 200 BS 4504 Flange, BS 4504 Flange Dimensions, MSS SP-44 BS 4504 Flanges in Mumbai, India.
Hastelloy C22 BS 4504 Flange, Best Price of Duplex Steel BS 4504 Flanges, Inconel BS 4504 PN40 Flanges, Stockholder Of PN6 BS 4504 Flanges, Copper Nickel BS 4504 Flanges Exporter, Alloy 20 BS 4504 Flanges Traders in India.

Shankh Metals And Alloys Is An ISO: 9001:2008 Certified Company. We are One Of The Leading BS 4504 Flanges Manufacturer, Suppliers & Exporter in India. We offer latest technical advancements and carry well maintained inventory ready for immediate delivery to any location. We are supplying flanges in almost everywhere India and also exporting it to countries like UK, Belgium, Saudi Arabia, Dubai, Singapore, Thailand, etc.
BS 4504 Flange Manufacturer, Supplies Of BS 4504 Flanges, BS 4504 Forged Flange, BS 4504 Flanges in Forged Steel, Stainless Steel, Carbon Steel C22.8, RST37.2, S235JR, P235GH, P245GH, P250GH, ASTM A105, ASTM A182 F304 (1.4306), F304L(1.4307), F316(1.4404), F316L(1.4404), F321(1.4541) etc.
British Standard BS 4504 : Section 3.1 : 1989 – Circular Flanges for Pipes, Valves and Fittings (PN Designated), Specification for Steel Flanges. This covers flanges in nominal pressure ranges PN 2.5 to PN 40 and nominal sizes up to DN 4000 (see table below). BS 4504 substantially agrees with ISO 7005-1 : 1992 (E) Part 1 : Steel Flanges.
Stockist of Stainless Steel BS 4504 PN6 Flanges, BS 4504 Class 150 BS 4504 Flange, BS 4504 Pipe Flanges, Global Supplier of BS 4504 Flanges, ASTM A182 SS BS 4504 Flange, BS 4504 Plate Flanges Dealer in India, BS 4504 Blind Flanges, BS 4504 Lapped joint Flanges, BS 4504 Threaded Flange, BS 4504 Plate Flange Wholesaler.
Table Of Content
Standard Specification For BS 4504 Flanges :
BS flange is a flange system from England, which have flange type including Welding neck Flanges, Plate Slip-on Flanges, Screwed Boss Flanges, Slip on Boss Flanges, slip on flange, blind flange, welded neck flange, threaded flange, lapped joint flange (loose flange), socket welded flange, Orifice Flanges, long weld neck flange and special flangeetc., pressure grade from PN 2.4 to PN 40, Size from 1/2" NB TO 48"NB.
- Type: slip on flange, blind flange, welded neck flange, threaded flange, lapped joint flange(loose flange), socket welded flange, Orifice Flanges, long welded neck flange
- Material: Carbon steel: A105,SS400,SF440 RST37.2,S235JRG2,P250GH,C22.8, Stainless Steel: F304 F304L F316 F316L 316Ti, Copper etc.
- Standard: ANSI,JIS,DIN,BS4504,SABS1123,EN1092-1, UNI,AS2129,GOST-12820
- Size: 1/2-78 inch (DN15-DN2000) / DN15 – DN2000 (1/2″ – 80″), Forged Flange.
- Pressure: ANSI class 150,300,600,1500,2500, DIN PN6,PN10,PN16,PN25,PN40,PN64,PN100,PN160
- Packing: No Fumigate or Fumigate Plywood/Wood Pallet or Case
- Surface Treatment: Anti-rust Oil, Transparent/Yellow/Black Anti-rust Paint,Zinc,Hot dipped Galvanized.
- E-catalogue: Available , please visit catalogue of flange
- Usage: Oil Field, Offshore, Water System, Shipbuilding, Natural Gas, Electric Power, Pipe Projects etc
Manufacturing Standards Of BS 4504 Flangess :
Stainless Steel BS 4504 Flanges :
ASTM A 182, A 240 F 304, 304L, 304H, 316, 316L, 316Ti, 310, 310S, 321, 321H, 317, 347, 347H, 904L
Duplex & Super Duplex Steel BS 4504 Flanges :
ASTM / ASME A/SA 182 F 44, F 45, F51, F 53, F 55, F 60, F 61
Carbon Steel BS 4504 Flanges :
ASTM / ASME A/SA 105 ASTM / ASME A 350 , ASTM A 181 LF 2 / A516 Gr.70 A36, A694 F42, F46, F52, F60, F65, F706
Low Temperature Carbon Steel BS 4504 Flanges : ASTM A350, LF2, LF3
Alloy Steel BS 4504 Flanges :
ASTM / ASME A/SA 182 & A 387 F1, F5, F9, F11, F12, F22, F91
Copper Alloy Steel BS 4504 Flanges : ASTM SB 61 , SB62 , SB151 , SB152 UNS No. C 70600 (Cu-Ni 90/10), C 71500 (Cu-Ni 70/30), UNS No. C 10100, 10200, 10300, 10800, 12000, 12200
Nickel Alloy BS 4504 Flanges :
ASTM SB564, SB160, SB472, SB162 Nickel 200 (UNS No. N02200), Nickel 201 (UNS No. N02201), Monel 400 (UNS No. N04400), Monel 500 (UNS No. N05500), Inconel 800 (UNS No. N08800), Inconel 825 (UNS No. N08825), Inconel 600 (UNS No. N06600), Inconel 625 (UNS No. N06625), Inconel 601 (UNS No. N06601), Hastelloy C 276 (UNS No. N10276), Alloy 20 (UNS No. N08020)
Types Of BS 4504 Flanges :
| BS 4504 Forged Flanges | BS 4504 High Hub Blinds Flanges |
| BS 4504 Blind Flanges | BS 4504 Spectacle Blinds Flanges |
| BS 4504 Reducing Flanges | BS 4504 Loose Flanges |
| BS 4504 Orifice Flanges | BS 4504 RTJ Flanges |
| BS 4504 Socket Weld Flanges | BS 4504 Screwed Flanges |
| BS 4504 Slip On Flanges | BS 4504 Weld Neck Flanges |
| BS 4504 Flat Flanges | BS 4504 Flange Facing Type & Finish |
| BS 4504 Lapped Joint Flanges | BS 4504 SORF Flanges |
| BS 4504 SWRF Flanges | BS 4504 Groove & Tongue Flanges |
| BS 4504 Square Flanges | BS 4504 Long Neck Weld Flanges |
| BS 4504 Threaded Flanges | BS 4504 Spades Ring Spacers Flanges |
| BS 4504 Weld Neck Flanges Series A or B | BS 4504 Ring Type Joint Flanges |
| BS 4504 WNRF Flanges | BS 4504 Weldo / Nipo Flanges |
| BS 4504 Expander Flanges |
BS 4504 : 1969 is still commonly used. This older standard allows for manufacture from bar, whereas the latest standard specifies that forging or plate are to be used, which can be significantly more expensive. There are minor differences in dimensions between the two versions. The following tables are based on the later version.
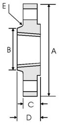
BS 4504 Plate Flange Dimensions :
BS 4504 PLATE FLANGE PN6, PN10, PN16, PN25, PN40


BS 4504 Welding Neck Flange Dimensions :
BS 4504 WELD NECK FLANGE PN6, PN10, PN16, PN25, PN40


BS 4504 Threaded Flange Dimensions :
BS 4504 THREADED FLANGE PN6, PN10, PN16, PN25, PN40


BS 4504 Blind Flange Dimensions :
BS 4504 BLIND FLANGE PN6, PN10, PN16, PN25, PN40


BS 4504 Flanges Application :
|
|
